Sony on patentoinut tekoälyyn perustuvan teknologian, jonka avulla PlayStation-pelit voisivat pelata itseään, jos pelaaja jää jumiin.
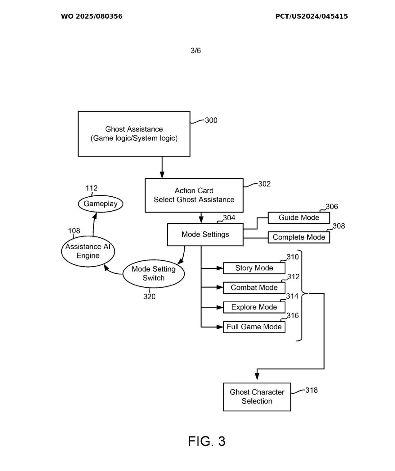
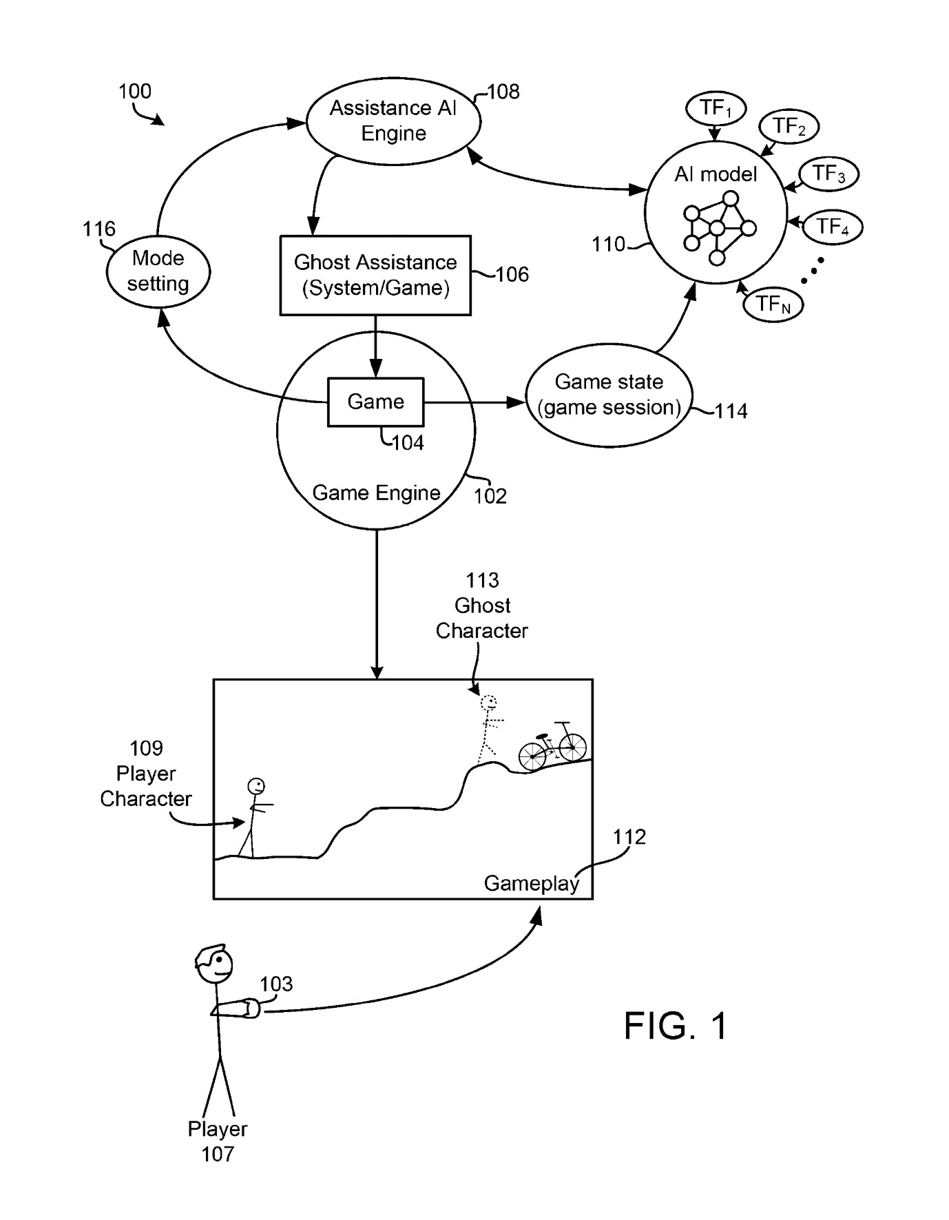
Patentissa kuvattu ”Ghost Player” loisi tekoälyn ohjaaman hahmon, joka joko näyttää ratkaisun tiettyyn kohtaan tai suorittaa sen kokonaan pelaajan puolesta.
Patentin mukaan järjestelmässä olisi esimerkiksi ”Guide Mode”, jossa tekoälyn ohjaama hahmo demonstroi ratkaisun, sekä ”Complete Mode”, joka hoitaa osuuden automaattisesti. Esimerkkinä mainitaan Uncharted-peli, jossa tekoäly voisi näyttää, miten pulma ratkaistaan.
Patentti jätettiin syyskuussa 2024, ja Maailman henkisen omaisuuden järjestö julkaisi sitä koskevan kansainvälisen tilanneraportin tällä viikolla. Järjestelmän kerrotaan perustuvan olemassa olevaan pelikuvaan koulutettuun tekoälymalliin, ei ennalta ohjelmoituihin komentosarjoihin.
Ghost Player -järjestelmä vaikuttaa olevan jatkoa PS5:n Game Help -toiminnolle, joka tarjoaa tuetuissa peleissä ohjeita kuvien ja videoiden avulla suoraan pelin aikana. Toimintoa on käytetty rajallisesti, mutta se on saanut kiitosta erityisesti pelaajilta, jotka tavoittelevat pelien saavutuksia.
Patentissa todetaan, ettei ole näyttöä siitä, että Sony toisi teknologian varsinaisesti käyttöön tulevissa laitteissa tai peleissä. Vastaavia patentteja on jätetty alalla aiemminkin ilman toteutusta.
Tekoälyavusteiset pelikumppanit yleistyvät alalla. Microsoft esitteli viime vuonna Copilot for Gaming -järjestelmän, joka toimii pelaajan henkilökohtaisena apurina ja voi esimerkiksi neuvoa pelimekaniikoissa tai asentaa pelejä pelaajan pyynnöstä.







Kommenttien kirjoittaminen edellyttää että olet kirjautunut.